冷凝罐制作DIY
冷凝罐是壓力變送器在測量高溫介質(比如蒸汽)壓力時使用,用于降低介質溫度,保證壓力變送器工作在合適的溫度。冷凝罐的制作圖如圖1所示,材料用20號鋼。

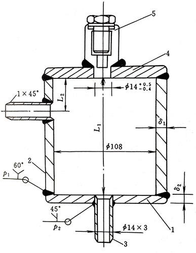
圖1 冷凝罐外形尺寸
圖例說明:
1為底板;2為筒體,尺寸為Ф108×6mm、L1=150mm;3為接管,尺寸為Ф14×3mm、L2=55mm;4為底板,δ2;5的尺寸為M18×1.5或M20×1.5絲堵。
表1 冷凝罐尺寸
|
公稱壓力/MPa |
冷凝罐尺寸 |
試壓/MPa |
||||
|
δ1/mm |
D1/mm |
δ2/mm |
P1/mm |
P2/mm |
||
|
6.4 |
6 |
86 |
15 |
1 |
11 |
9.6 |
|
16 |
10 |
78 |
15 |
2 |
9 |
24 |
1、冷凝罐制作技術要求
①按鋼制焊接容器技術條件進行制造、試驗和驗收。
②焊接采用電焊,焊條型號為T422。
③容器制成后進行水壓試驗,試驗壓力如表1所示(工稱壓力的1.5倍)。
④制成的容器表面涂漆,油漆的規格由設計確定。
2、冷凝罐的安裝注意事項
①檢測流量,必須保持冷凝器水平。不能因冷凝罐的人為誤差,造成檢測誤差。
②必須保持冷凝罐水平面有一定高度。水平面降低,應立即加水保證平面高度。
溫度計擴大管的制作
測溫用的擴大管是溫度傳感器檢測小管道溫度的必備輔助設施,通常在現場制作。溫度計擴大管制作方法有兩種:一種是找一段200mm的108×4mm鋼管,兩頭各留50mm,用作大小頭的方法縮成;另一種測溫擴大管制作方法是按標準圖2做成,具體數據見表2,材料是10號鋼、耐酸鋼或同工藝管道。

表2 溫度計擴大管尺寸
|
管道通徑DN |
10 |
15 |
20 |
25 |
32 |
40 |
50 |
70 |
|
大小頭長度A |
120 |
120 |
100 |
100 |
100 |
75 |
75 |
75 |
