
E+H科里奧利質量流量計安裝
1、請遵循下列安裝要求:
①只要沒有氣蝕現象發生,質量流量計的測量不會受到產生湍流的管件(閥門、彎頭或三通管等)影響,無需額外采取特殊的預防措施。
②為了防止測量管受外力影響產生形變帶來測量誤差,建議安裝前檢查并確認質量流量計前后管道、法蘭及法蘭孔是否對正。
③測量管的高頻振動使其不易受管道振動的影響,但推薦質量流量計前后管道做好必要支撐,確保測量的準確。
④鑒于力學原因,為了保護管道,建議為大質量的傳感器提供適當的支架支撐。
2、安裝位置
測量管中積聚的空氣或氣泡會導致測量誤差增大,應避免使用以下安裝位置:
①管道的最高點,存在空氣積聚的風險。
②流體自上而下流動豎直放空管道出口處。

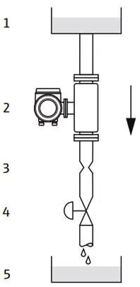
質量流量計的理想安裝位置是自下而上的豎直管道中,而在下圖流體自上而下的豎直管道中,需要采取縮徑管或使用橫截面小于公稱口徑的節流孔板以防止在測量過程中測量管被抽空。

1為供料罐 ; 2為傳感器 ;3為節流孔板、縮徑管 ;4為閥;5為計量罐
3、系統壓力
必須確保不會發生氣穴現象,因為這會影響測量管的振動。在正常條件下測量與水特性相似的流體時無需采取特殊措施。
測量沸點低的流體(例如:碳氫化合物、溶劑、液化氣)或在吸入式管道中測量時,必須確保壓力不低于介質蒸汽壓力。
當系統壓力足夠高時,可以確保液體不產生氣化并防止流體中夾雜的氣體逸出。
因此,質量流量計應首選的安裝位置:
①泵的下游管道中(無真空危險)
②豎直管道的最低點
4、安裝方向
確保傳感器銘牌上的箭頭指向與通過管道的流體流向一致。
豎直安裝:建議安裝在介質自下而上流動的管道中(圖V)。當流體不流動時,夾帶的固體將下沉并且氣體將從測量管中逸出。測量管能夠完全排空,并且能夠防止固體粘附。
水平安裝:正確安裝后,變送器外殼在管道上方或下方(圖H1/H2),這意味著在測量管中不會形成氣泡或固體沉積物。避免將變送器外殼與管道放置在同一水平面。

??=建議方向; ?=在某些情況下的建議方向; ?=不允許的方向
為了確保不超過變送器的允許環境溫度范圍,建議采用以下安裝方向:
①測量溫度非常高的流體時,建議采用變送器頭朝下的水平安裝方向(圖H2)或豎直安裝方向(圖V)。
②測量溫度非常低的流體時,建議采用變送器頭朝上的水平安裝方向(圖H1)或豎直安裝方向(圖V)。
特殊說明
Promass F、E、H、S和P帶彎測量管的傳感器水平安裝時,傳感器的安裝位置必須與流體特性相匹配。

1為不適用于含固體顆粒的流體,存在固體積聚的風險;2為不適用于有氣體逸出的流體,存在空氣積聚的風險。
5、伴熱和保溫
測量某些流體時需要采取適當的伴熱措施避免傳感器處出現熱量流失。可以采用電加熱,例如用加熱元件或通過銅制熱水管或蒸汽管或熱夾套進行。
◆電子部件不能過熱!確保不超過變送器的最高允許環境溫度。
◆當流體溫度在200°C~350°C之間時,最好選用高溫分體型儀表。
◆當采用電伴熱時,熱量通過相位控制或脈沖填充調節,不能排除測量值受可能產生的磁場的影響(即大于EC標準允許的值(Sinus 30A/m))。在這種情況下,傳感器必須進行磁屏蔽。
測量某些流體時需要采取適當的保溫措施避免傳感器處出現熱量流失,確保滿足工作溫度要求。
如果 Promass F 高溫型儀表水平安裝(變送器頭朝上),則建議最小保溫層厚度10mm以減少對流,最大保溫層厚度60mm。
6、直管段要求
無前后直管段長度要求。如可能,傳感器應安裝在盡可能遠離閥門、三通管、彎頭等管件的位置。
7、振動影響
測量管的高頻振動使其不受管道振動的影響,確保測量系統正確測量。通常情況下,傳感器不需要特別的安裝措施。
